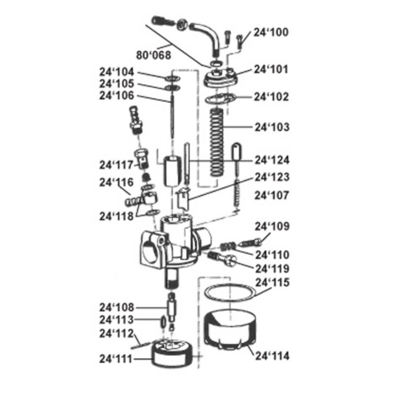
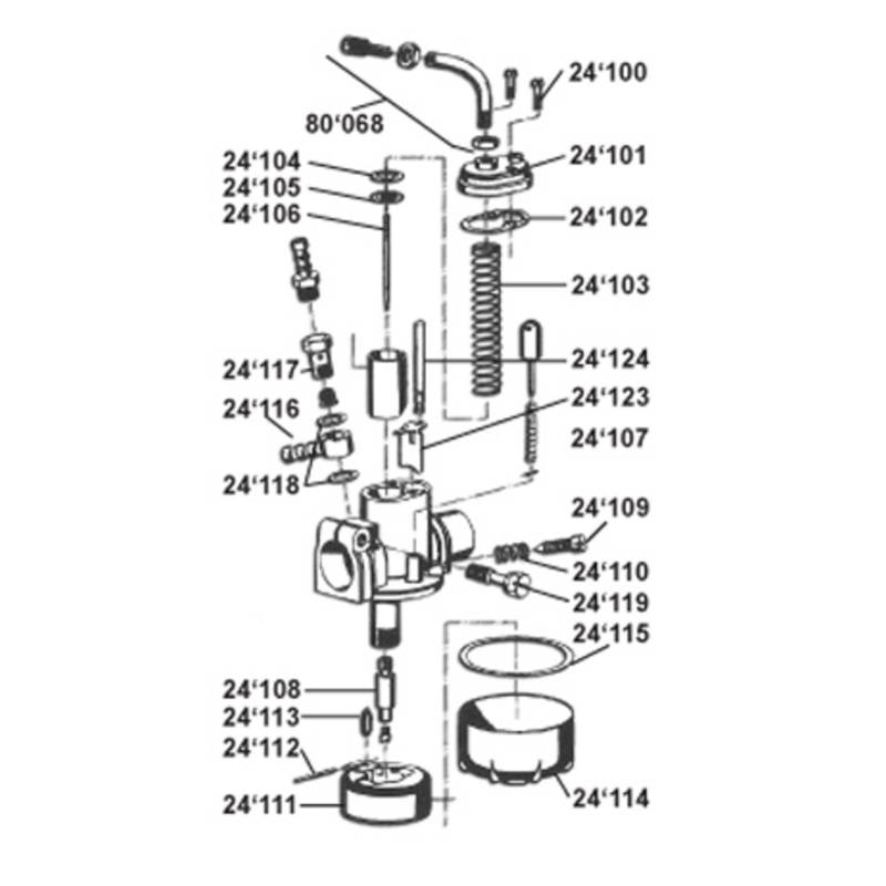
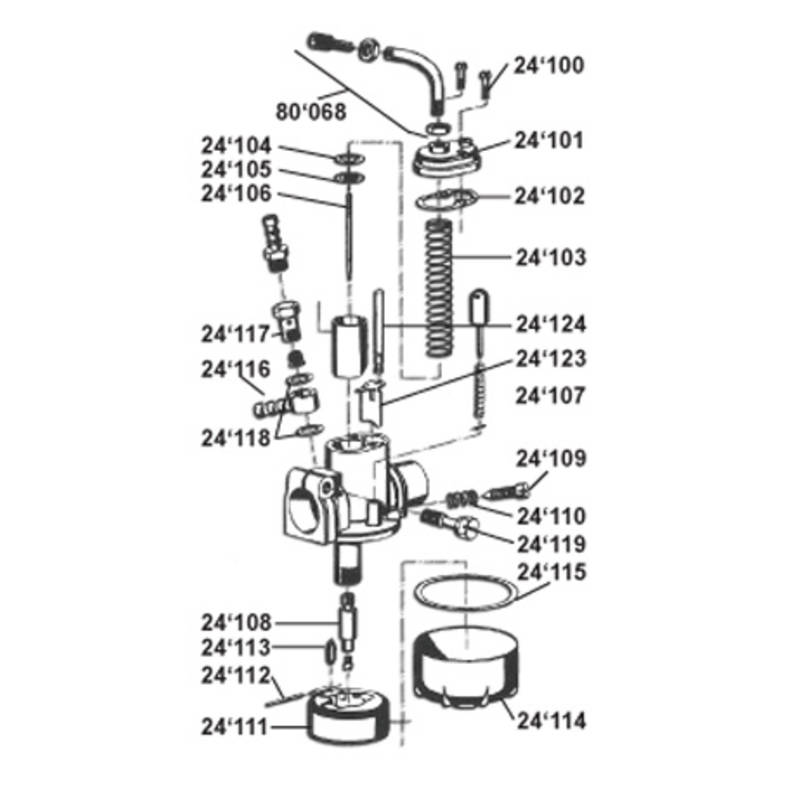
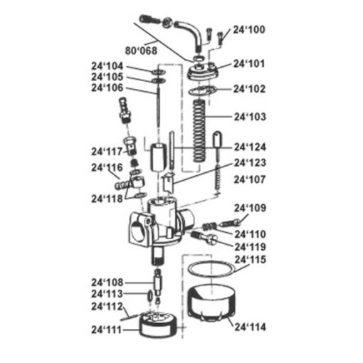
Dichtring zu Schwimmergehäuse passend am Bing SRE, SRC, SRF und den SRA 1/11/35 Vergaser.
Dieser Schwimmerkammerdichtring wurde verbaut an Puch Maxi, X30, Velux, Sachs, und Zündapp Belmondo
Masse:
Aussendurchmesser: 45 mm
Innendurchmesser: 41 mm
Höhe: 1.5mm





























